In-Depth: Breguet’s Constant-Force Magnetic Escapement
Expérimentale 1 masters magnetism.
Earlier this week, Breguet rounded off its grandiose 250th anniversary with the unexpected launch of the Expérimentale 1 chronometer in Paris. Showcasing modern Breguet’s most impressive innovation to date — a magnetic constant-force escapement — the watch left many scratching their heads simply because the novel invention defies easy explanation.
Here we explain the actual functioning of this remarkable invention, and why it represents such a significant step forward in terms of chronometry and escapement technology.

The origins of the concept
Before turning to the decidedly modern and futuristic Expérimentale 1, we must first take a short trip to the past and consider how the idea of using magnets in mechanical escapements first came to life. For that we must turn to the late 1930s, when Cecil Frank Clifford, Fellow of the British Horological Institute (BHI), started experimenting with oscillators maintained by magnetic rails or escape wheels.
He was granted a British patent in 1954 for a variety of magnetised escape wheels paired with elastic vibrating magnetic blades. The device would operate silently and Clifford envisioned it being used for naval underwater torpedoes, so the lack of ticking would be harder to pick up by sonars.

Iterations of Clifford magnetic escapements.
His designs were rudimentary. The principle was that the escape wheel would be braked by a vibrating pair of magnetised blades (in several possible configurations), while simultaneously forcing those blades to oscillate in a wavy, near-sinusoidal pattern. This created a closed feedback loop: the magnetic field of the wheel drove the blades’ vibration, and the vibration in turn regulated the rotational speed of the wheel.
Clifford even established a company with an English clockmaker — Horstmann Clifford Magnetics Ltd — to license the escapement for horological use or as a general stepper-motor mechanism. Two American-made, Clifford-modified Hamilton cal. 922B pocket watches are known to survive, each featuring a skeletonised escape wheel and a long vibrating blade.
However, no commercially available model ever used a Clifford magnetic escapement; the company ultimately found success instead with electronic tuning-fork clocks. The advent of quartz technology then brought the budding relationship between magnets and horology to what seemed like a definitive close.

While Clifford’s idea was good in practice, it lacked any form of safety mechanism — so acceleration in the right direction or a well-timed shock would break the synchronisation between the escape wheel and the oscillating blade. The vibrating blade model itself is delicate and highly susceptible to temperature changes, humidity and even dust. An Antiquorum catalogue from 2012 describes one of the two Hamilton cal. 922Bs as only working intermittently for about 10 hours.
While other patents on the subject of magnetic oscillators were filed since, the closest we’ve come to an actual magnetically-driven oscillator was with the shelved TAG Heuer MikroPendulum, an extravagant experimental creation from the early 2010s featuring a 50 Hz springless tourbillon. The watch was never commercialised to my knowledge and the system appeared doomed from the beginning.
An honourable mention in this lineage is Robert Hooke’s magnetic oscillator, of which no technical drawings survive; only a note remains, stating that the magnetic clock failed when presented to the Royal Society.

What to know about magnetism
Magnetism and electromagnetism are deep and complex fields of physics and are usually explained in terms of vector fields and through overly complicated sets of equations. This sort of knowledge is not necessary to understand the new Breguet magnetic escapement, although some basic considerations should be of use.
First, the terms magnetic field, energy, and potential are used somewhat loosely and interchangeably in this story, as to convey a more practical view of the phenomenon. For example, two magnets of same polarity (N-N or S-S) repel each other through their respective fields. There is also some magnetic potential energy stored in that interaction.
The repelling action was clearly apparent to anyone who ever played with magnets and noticed how two pieces push each other apart stronger as they are brought closer together, as if an infinitely dense air cushion keeps them apart.

The law of magnetic attraction force (much like gravity) scales inversely with the squared distance between two magnets — so it is not linear. A spring, by contrast, provides a linearly restorative force proportional to displacement: the further it is pulled, the harder it pulls back.
Magnets do not behave in this linear, proportional way. As two like-polarity magnets move apart, the repulsive force drops off sharply; as they move closer, the force rises dramatically — or, for opposite polarities, they accelerate rapidly towards each other. The squared distance term in the governing equation is what makes the effect so pronounced.

In other words, when forced close together, two same polarity magnetic materials will try and repel each other much like two compressed spring ends — but with a much greater strength. So in the context of understanding Breguet’s escapement, we can comfortably imagine the repelling force between two magnets of the same pole as a sort of supercharged elastic force inside an invisible spring.
This aspect of how magnetic fields interact is crucial to understanding the finer details of Breguet’s new escapement — especially the constant force function.
The first steps
From 2015 through to late 2017, both Breguet and Swatch Group Research & Development filed wide range of magnet-related patents, covering everything from suspended pivots to magnetic chronograph actuators, clutches, and escapements. One of the earliest filings outlining the core of the Expérimentale 1’s escapement dates from February 2016.
Patent EP3208667 filed by Swatch Group Research & Development describes a conceptual magnetic escapement designed to fit with a conventional sprung balance. The concept relied on free lever, with a conventional fork at one end for engaging the balance and a piece of ferromagnetic material fitted to the other end. An escape wheel featuring strips of magnetic material was meant to engage with the magnetic end of the lever, providing impulse through the interaction of opposing magnetic fields.

Figure 1. Conceptual magnetic escapement with single-arm lever. Image – EP3208667
Since the system was similar to a purely mechanical anchor escapement, the lever was locked and unlocked by the swinging balance, thus stopping and unlocking the escape wheel. This is very unlike Clifford’s principle, in which the escape wheel would run constantly and only be braked by a set of vibrating blades — a bit like a very crude Spring Drive movement.
This version featured a particular strip geometry on the escape wheel, with a “variable magnetic strength gradient”. The particular arrangement was meant to increase the strength of the escape wheel’s magnetic field between each successive “tooth” as it turns. The idea was to accumulate magnetic potential energy progressively against the stationary lever, eventually bringing the escape wheel to a full halt as a larger “barrier” section approached. These barriers acted as virtual teeth, essential both for locking and for providing impulse.
The cleverness of the geometry lies in linearly increasing the magnetic area to form a so-called “energy ramp”, ensuring steady potential build-up and progressive braking.

It is crucial to note that the escape wheel can only be braked or stopped when the lever itself is immobilised. In any detached anchor escapement, the lever is inactive and locked only when the balance swings through its supplementary arc. This implies that the escape wheel moves only when the balance swings freely and the lever is not engaged. How, then, does impulse occur?
The answer relates directly to our earlier discussion of magnetic interactions. When the lever is locked, it is held firmly between a banking pin and the balance roller. Any force applied at the opposite end encounters rigid resistance.
The escape wheel’s magnetic “barriers” are regularly spaced and exert a repelling force against the lever’s magnetic element. With the lever locked in place, this creates a significant amount of stored magnetic potential energy — akin to compressing our imaginary supercharged spring. Although there is no physical contact, the two components are held in a static equilibrium, and the escape wheel remains stationary despite the torque coming from the mainspring through the going train.
It is easy to see which part gives first: once the balance swings towards its equilibrium position, it unlocks the lever, freeing its magnetic end. Suddenly that accumulated magnetic potential is released, jolting the escape wheel “barrier” away from the lever. The escape wheel’s barrier does not move first — its inertia and the torque acting upon it temporarily keep it still — so the lighter lever is thrown away from the wheel, delivering a robust impulse to the balance.
Only after the lever reaches (or approaches) its opposite locked position does the escape wheel begin to accelerate under the mainspring’s torque. As soon as it does, the magnetic potential begins to rebuild against the now-stationary lever, restarting the cycle.

Figure 2. Anchor lever embodiment of the magnetic escapement. Image – EP3208667
So what exactly happened here? First, notice how the escape wheel turning has no effect on the actual impulse; the mainspring torque does not influence the amount of kinetic energy fed into the oscillating organ.
Second, because the impulse arises solely from the conversion of stored magnetic potential into kinetic energy, its magnitude should be almost perfectly consistent. The impulse is always the same, since the magnets’ fields have the same strength and their interaction is predictable and consistent. This attribute makes the device a true constant force escapement. Moreover, the impulse is impelled in a contactless fashion, thus solving the age-old issue of friction and lubrication.
We see that the escape wheel turning only serves two purposes: setting the discharge speed of the gong train (thus displaying the time) and recharging the magnetic potential energy. This is a perfect reinterpretation of two other constant force escapement exploiting different potentials.
Similar efforts
Gravity escapements in clocks (like the Arnfield escapement, for example) separate the going train and escape wheel from the swinging pendulum. When unlocked, the escape wheel only serves to set the gear train speed and raise a weighted arm, helping it gain gravitational potential energy. The pendulum is then impulsed by the falling arm, which always descends at a fixed rate under gravity, producing consistent impulses.
Another more modern and complex device is the Girard-Perregaux Constant Escapement. We’ve covered this escapement thoroughly in the past, but the gist is how the twin escape wheels never actively engage with the balance, but rather snap the bi-stable buckling silicon blades from one equilibrium position to the other, thus charging them elastically. The device then converts the stored elastic potential energy into kinetic energy fed into the balance.

The Girard-Perregaux Constant Escapement.
The same potential-to-kinetic energy conversion principle is what allows Breguet’s new magnetic escapement to provide constant force to the balance. For the first time in horological history that potential is magnetic in nature rather than gravitational or elastic. It doesn’t matter whether the escape wheel charges the “energy ramps” less forcefully when there’s less torque available; the stored magnetic potential will always be the same at the impulse stage.

More work to be done
The 2016 concept sounded brilliant in theory and the patent even suggested a Swiss lever-like setup of such a magnetic escapement (Figure 2 above). There was however a critical fault: no physical safety, as was the case with Clifford’s designs.
Even though magnetic force is the second strongest of the four fundamental interactions, the small scale of the components means the fields involved are modest. As a result, the magnetic lock between lever and escape wheel is shallow compared with a Swiss lever or detent escapement, where a physical stop holds the escape wheel firmly in place.

This raises obvious risks. A sudden acceleration or shock could cause the magnetic lock to fail, allowing the escape wheel to jump to the next barrier (causing timing errors) or, worse, to race ahead entirely out of synchronisation with the lever.
There is another complication: when the mainspring is fully unwound and the balance is held at rest by the hairspring, the lever also sits idle. Nothing guarantees that the lever will align with the correct barrier upon winding. The escapement might not start in the correct phase, potentially preventing the watch from restarting reliably from a fully run-down state.
All these aspects considered, the magnetic escapement was an innovative and promising concept in 2016, but it was clear there was still substantial work to be done before bringing it to market. Even adapting purely mechanical alternative escapements to finished products is always a hassle, and this magnetic-mechanical hybrid was like sailing in uncharted waters.
The final iteration
Only now as 2025 draws to an end did we get to see a functioning magnetic escapement brought to market, crowning Breguet’s 250th anniversary. It is plainly amazing to see a concept delivered after a decade of research and development, prototyping, and presumably a large number of challenges.

Exploded view of the full escapement.
So how did Breguet make the system reliable? By tempering the avant-garde with a return to tried-and-tested principles.
We concluded previously that a purely contactless magnetic escapement in a wearable timepiece would be vulnerable to galloping, desynchronisation or outright malfunction due to shocks, sudden accelerations, or even simply forgetting to wind the watch.

Figure 3. Locked magnetic escapement. Image – EP3882713
In patent EP3882713 filed by Swatch Group Research & Development in 2020 and finally granted towards the end of 2022, we find the solution to the safety and self-starting issues. The mode of invention suggested by the patent is virtually identical to the escapement we find in the Breguet Expérimentale 1.
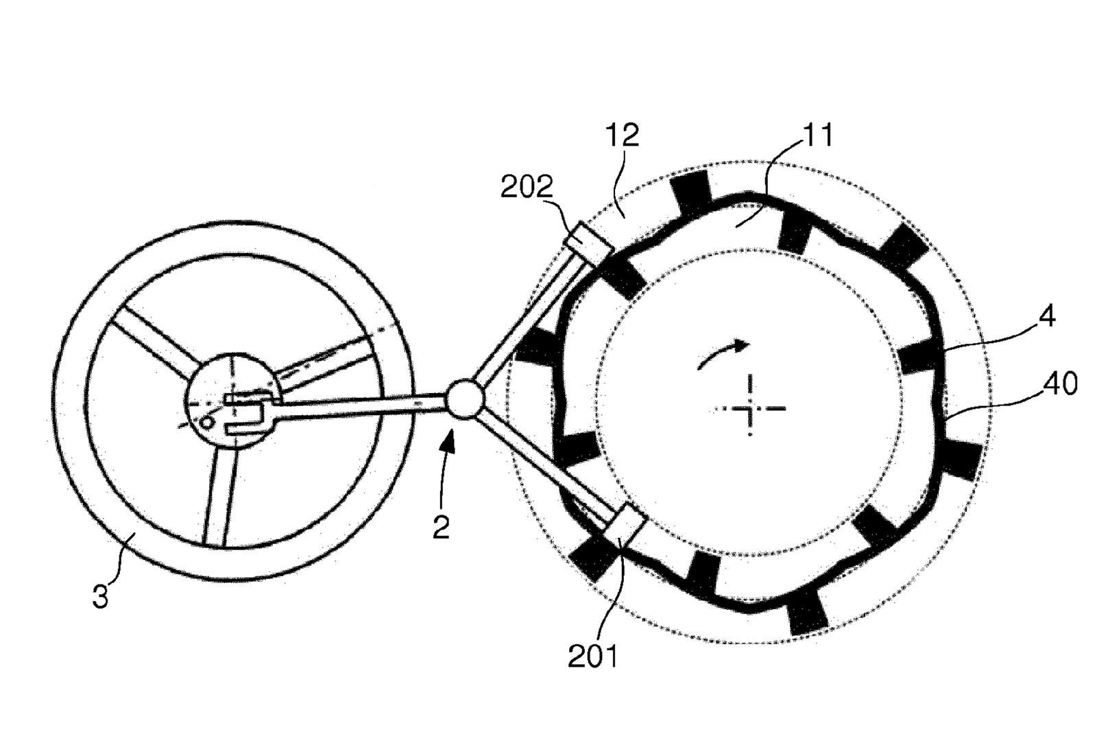
In Figure 3 we see a familiar iteration of the magnetic escapement, but now accompanied by an additional wheel positioned between the two mirrored magnetic wheels — a wheel strongly reminiscent of a conventional escape wheel. To simplify the diagram, only the lower magnetic wheel is shown. The role of the safety wheel is straightforward: work with the entry and exit pallets to ensure the escapement never gets out of sync.
Consider the scenario in which the movement has run down and there is no power in the mainspring; the sprung hairspring is centred and idle, along with the lever; the escape wheel assembly stopped at a random angular position.
When the piece is eventually wound up and the escape wheel starts moving, regardless of how the magnetic strip might influence the lever, the solid safety wheel physically engages either the entry or exit pallet, pushing it like a Swiss lever and indirectly impulsing the balance.

Figure 4. Escapement right after impulse, lever already locked and running escape wheel. Image – EP3882713
The physical contact might take place during the next few oscillation cycles as well, until the balance settles its rhythm and amplitude. From that point on, the impulse is only of the magnetic sort, as outlined in the 2016 concept. The violet magnetic strip highlighted in Figures 3 and 4 shows the sloped “energy ramps”, ending with the noticeably large square “barriers”. At optimal operating amplitudes, the balance is provided with constant maintaining force, delivered entirely by magnetic repulsion.
The safety wheel not only ensures the starting sequence is always correct, but that any galloping cannot take place. Say a shock really throws the magnetic interaction out of lock; the escape wheel would tend to advance forward but will instead be firmly blocked by the locked lever pallet.

Figure 5a. Locked escapement. Image – Breguet

Figure 5b. Impulse phase; note the lever accelerates while the escape wheel remains still. Image – Breguet

Figure 5c. Lever locked and stationary while the escape wheel makes its run to the exit pallet. Image – Breguet
From the promotional materials, it is unclear whether the lever blocks the escape wheel exclusively through magnetic force, or locks softly against the safety wheel teeth. Even if slight contact occurs, the strength of the magnetic barriers should cushion the interaction and then separate the parts before the impulse is delivered. The closer action of the magnetic escapement is detailed in Figures 5a to 5c.
This simple, physical solution seems to solve all the apparent issues of the original concept. Constant force is retained, since the accumulated potential is always the same and jolts the anchor away into impulsing the balance. Under normal conditions the operation should be contactless — thus truly frictionless; in case of shocks, run down, or other disturbing factors, the escapement’s sequence is protected.
In short, Breguet has turned a brilliant but fragile concept into a viable escapement for a real-world wristwatch.

Efficiency and other considerations
When examining this escapement, one might be tempted to apply the usual efficiency metrics employed for traditional mechanisms. In practice, many of them simply do not apply.
Take the impulse for example; friction-related loss is the main energy sink of traditional escapements — especially for the Swiss lever. But for friction you need contact, and Breguet’s magnetic escapement has almost none of that — unless we are picky and consider the friction generated by the fork-impulse pin interaction.
Similarly, geometric efficiency becomes meaningless here. This metric evaluates how much of the escape wheel’s angular travel is used to impart impulse to the balance. In constant-force systems such as this, the impulse is delivered while the escape wheel is static. Any advancement of the wheel occurs outside the impulse phase, which would misleadingly imply zero geometric efficiency. The same shortcoming also affects gravity escapements and silicon buckling-blade mechanisms.

Figure 6. Image – EP3882713
The graph in Figure 6 shows the position of the lever (path 52) and the velocity of the escape wheel (path 50) in relation to the angular advancement of the escapement. It is clear that the velocity peaks while the lever is still (horizontal line in path 52) and is zero when the lever switches from one position to the other. Note the sharpness of the slope, pointing to how fast impulse is imparted. The escape wheel’s acceleration is comparatively softer.
The only traditional consideration that still stands is the inertial efficiency of the device — how much energy is lost to simply accelerating the escapement parts. The components are generously cut-out and small enough so that inertia is reduced.

The Expérimentale 1 works with a 10 Hz oscillator which makes 10 full swings each second. This is equivalent to 20 vibrations (semi-oscillations) per second. The safety wheel has 12 teeth (paired to 12 “barriers”) and advances by one tooth spacing each full oscillation or every two unlockings. This adds up to 5/6 revolutions each second for the escape wheel, or 300°, so a bit less than a full turn.
This is still a rather high angular speed, so there are additional gears accelerating the escape wheel, which might hinder the efficiency a little. There is also the question of the power-intensive tourbillon implemented in the Expérimentale 1’s cal. 7250, but that is beyond the scope of this article.
This particular movement is in any case powered by four mainsprings. Although the open worked barrels are arranged as a pair in series, each features two mainsprings acting on the same drum and wound through the same arbour. The springs are separated by a sapphire disk, to prevent any friction between coils. Since they act on the same point, the springs are in fact parallel, but set at a 180° offset, cleverly ensuring more equal side pressure inside the barrel. The elaborate setup helps the Expérimentale 1 achieve its stated 72 hours of power reserve.

Concluding thoughts
Finally, the only slight flaw I suspect with the Breguet magnetic constant force escapement is the apparent “resting friction” of the lever on the balance roller.
In a conventional escapement, the draw angle ensures the lever sits securely against its banking without touching the balance. In the magnetic escapement, however, the escape wheel’s magnetic force continually urges the lever in the direction of impulse, which may press the fork and dart lightly against the balance roller, creating a subtle braking effect. At this stage it’s unclear whether this is a real issue or just cautious nitpicking.
One intriguing aspect of this escapement is that many of the patents underpinning it were filed not by Montres Breguet but by Swatch Group Research & Development. If future Expérimentale models continue to showcase prototype systems originating from the Swatch Group’s research and development arm, the prospects are exciting: few organisations in the industry possess such substantial technical resources or such a deep catalogue of horological research.
Back to top.







